液压为什么力气那么大,它的工作原理是什么
的有关信息介绍如下:液压传动的工作原理及其组成
一、液压传动的工作原理 液压传动的工作原理,可以用一个液压千斤顶
液压传动的工作原理及其组成
一、液压传动的工作原理
液压传动的工作原理,可以用一个液压千斤顶的工作原理来说明。
图1-1液压千斤顶工作原理图

1—杠杆手柄2—小油缸3—小活塞4,7—单向阀5—吸油管6,10—管道
8—大活塞9—大油缸11—截止阀12—油箱
图1-1是液压千斤顶的工作原理图。大油缸9和大活塞8组成举升液压缸。杠杆手柄1、小油缸2、小活塞3、单向阀4和7组成手动液压泵。如提起手柄使小活塞向上移动,小活塞下端油腔容积增大,形成局部真空,这时单向阀4打开,通过吸油管5从油箱12中吸油;用力压下手柄,小活塞下移,小活塞下腔压力升高,单向阀4关闭,单向阀7打开,下腔的油液经管道6输入举升油缸9的下腔,迫使大活塞8向上移动,顶起重物。再次提起手柄吸油时,单向阀7自动关闭,使油液不能倒流,从而保证了重物不会自行下落。不断地往复扳动手柄,就能不断地把油液压入举升缸下腔,使重物逐渐地升起。如果打开截止阀11,举升缸下腔的油液通过管道10、截止阀11流回油箱,重物就向下移动。这就是液压千斤顶的工作原理。
通过对上面液压千斤顶工作过程的分析,可以初步了解到液压传动的基本工作原理。液压传动是利用有压力的油液作为传递动力的工作介质。压下杠杆时,小油缸2输出压力油,是将机械能转换成油液的压力能,压力油经过管道6及单向阀7,推动大活塞8举起重物,是将油液的压力能又转换成机械能。大活塞8举升的速度取决于单位时间内流入大油缸9中油容积的多少。由此可见,液压传动是一个不同能量的转换过程。
二、液压传动系统的组成
液压千斤顶是一种简单的液压传动装置。下面分析一种驱动工作台的液压传动系统。如图1-2所示,它由油箱、滤油器、液压泵、溢流阀、开停阀、节流阀、
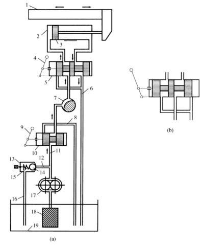
图1-2机床工作台液压系统工作原理图

1—工作台2—液压缸3—活塞4—换向手柄5—换向阀
6,8,16—回油管7—节流阀9—开停手柄10—开停阀?
11—压力管12—压力支管13—溢流阀14—钢球15—弹簧
17—液压泵18—滤油器19—油箱
换向阀、液压缸以及连接这些元件的油管、接头组成。其工作原理如下:液压泵由电动机驱动后,从油箱中吸油。油液经滤油器进入液压泵,油液在泵腔中从入口低压到泵出口高压,在图1-2(a)所示状态下,通过开停阀、节流阀、换向阀进入液压缸左腔,推动活塞使工作台向右移动。这时,液压缸右腔的油经换向阀和回油管6排回油箱。
如果将换向阀手柄转换成图1-2(b)所示状态,则压力管中的油将经过开停阀、节流阀和换向阀进入液压缸右腔、推动活塞使工作台向左移动,并使液压缸左腔的油经换向阀和回油管6排回油箱。
工作台的移动速度是通过节流阀来调节的。当节流阀开大时,进入液压缸的油量增多,工作台的移动速度增大;当节流阀关小时,进入液压缸的油量减小,工作台的移动速度减小。为了克服移动工作台时所受到的各种阻力,液压缸必须产生一个足够大的推力,这个推力是由液压缸中的油液压力所产生的。要克服的阻力越大,缸中的油液压力越高;反之压力就越低。这种现象正说明了液压传动的一个基本原理——压力决定于负载。从机床工作台液压系统的工作过程可以看出,一个完整的、能够正常工作的液压系统,应该由以下五个主要部分来组成:
1.能源装置它是供给液压系统压力油,把机械能转换成液压能的装置。最常见的形式是液压泵。
2.执行装置它是把液压能转换成机械能的装置。其形式有作直线运动的液压缸,有作回转运动的液压马达,它们又称为液压系统的执行元件。
3.控制调节装置它是对系统中的压力、流量或流动方向进行控制或调节的装置。如溢流阀、节流阀、换向阀、开停阀等。
4.辅助装置上述三部分之外的其他装置,例如油箱,滤油器,油管等。它们对保证系统正常工作是必不可少的。
5.工作介质传递能量的流体,即液压油等。
三、液压传动系统图的图形符号
图1-3机床工作台液压系统的图形符号图

1—工作台2—液压缸3—油塞4—换向阀
5—节流阀6—开停阀7—溢流阀8—液压泵9—滤油器10—油箱
图1-2所示的液压系统是一种半结构式的工作原理图它有直观性强、容易理解的优点,当液压系统发生故障时,根据原理图检查十分方便,但图形比较复杂,绘制比较麻烦。我国已经制定了一种用规定的图形符号来表示液压原理图中的各元件和连接管路的国家标准,即“液压系统图图形符号(GB786—76)”。我国制订的液压系统图图形符号(GB786—76)中,对于这些图形符号有以下几条基本规定。
(1)符号只表示元件的职能,连接系统的通路,不表示元件的具体结构和参数,也不表示元件在机器中的实际安装位置。
(2)元件符号内的油液流动方向用箭头表示,线段两端都有箭头的,表示流动方向可逆。
(3)符号均以元件的静止位置或中间零位置表示,当系统的动作另有说明时,可作例外。
图1-3所示为图1-2(a)系统用国标《GB786—76液压系统图图形符号》绘制的工作原理图。使用这些图形符号可使液压系统图简单明了,且便于绘图。



