打磨机
的有关信息介绍如下:将刨花再次加工粉碎,使之达到一定尺寸的机械。刨花粉碎程度与粗刨花的原始状态、含水率,以及工作部件的圆周速度和间隙的大小有关;机内筛网网目数也直接影响粉碎的程度。该机的结构形式很多,常用的有叶轮式打磨机、锤式打磨机和齿盘式打磨机。
叶轮式打磨机
结构如图1。主要部件为装有叶片的转子和旋转鼓。旋转鼓上有筛垫,彼此逆向旋转。该机加工的细刨花质量较高,生产能力也高。

图1锤式打磨机
结构如图2。主要工作部件是转子,转子上铰接着锤板,转子和机壳之间有固定筛板。工作时,锤板在离心力的作用下呈辐射状甩动,打击送入机内的碎料或粗刨花,达到再碎的目的。锤式打磨机的优点是对原料的原始形态要求较宽,可以进行农作物秸秆等非木质原料的加工。但是加工出的细刨花形态较差。

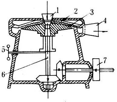
图2齿盘式打磨机
结构如图3。其再碎是通过研磨作用来达到的。主要部件为上下齿盘,刨花和木片在回转的下磨盘和固定的上磨盘之间被研磨。原料从顶部料口落下,经上磨盘圆孔落在下磨盘中心的甩料螺旋上。随着磨盘的回转,刨花和木片被均匀地抛向磨盘四周,被上、下磨盘切碎成狭长刨花,由出料口排出。调节磨盘的间隙,即可调节刨花的最终尺寸范围。

图3打磨机中加工的原料比较细碎,原料含水率也较低,要特别注意防止金属物和石块混入,以免引起机械损坏和火灾事故。



